随着超高层建筑的日益兴建,超高层建筑的数量不断增加[1]。其中,框架-核心筒-伸臂桁架结构作为一种重要的超高层建筑结构体系得到了广泛应用[2]。在高层建筑中,伸臂桁架通过连接核心筒和外框架,保证二者的共同工作,从而增加了外框架的抗倾覆力矩,提高了超高层建筑的抗侧力刚度[3―4]。近年来,随着超高层建筑的大量出现,越来越多的学者开始关注伸臂桁架的抗震性能,并开展了一系列的试验和有限元研究[5―15]。
目前,已有诸多学者通过试验研究了伸臂桁架的抗震性能。例如,赵宪忠等[5]、陈以一等[6]、聂建国等[7]、严鹏等[8]开展了伸臂桁架与框架柱和核心筒连接节点的拟静力加载试验,研究了试件的承载力、刚度、延性和耗能能力等主要抗震性能指标及其在滞回荷载下的破坏模式,结果表明,伸臂桁架是主要的耗能构件,且试件损伤均集中在伸臂桁架上。杨青顺[9]以单个伸臂桁架为研究对象开展了相关的抗震性能试验研究,结果表明:普通伸臂桁架存在腹杆屈曲导致耗能能力不足的缺点,改进后的防屈曲支撑(BRB)伸臂桁架耗能能力得到显著改善。
此外,还有许多学者基于有限元模拟研究了伸臂桁架对超高层建筑抗震性能的影响。其中,卢啸[10]的研究表明:伸臂桁架在结构中不承担重力荷载,在地震作用下即使进入塑性阶段屈服耗能,也不会对结构安全性造成严重影响。同时,已有研究[11―14]通过统计超高层建筑的各构件耗能指标,发现伸臂桁架可以发挥较多塑性耗能能力。另外,Moehle[15]的研究还指出:伸臂桁架通过在地震中屈服耗能,可以有效减小结构中其他主要构件的损伤,起到“结构保险丝”的作用。因此,伸臂桁架可以被设计为结构的主要耗能构件,对结构的抗震性能会产生重要影响。
综上所述,在地震作用下,伸臂桁架在整体结构中的耗能能力研究具有非常重要的价值。为了深入研究伸臂桁架在整体结构中的耗能性能,提出合理的伸臂桁架改进耗能设计方法,本文以一超高层框架-核心筒-伸臂桁架结构为研究对象,根据普通伸臂桁架和BRB伸臂桁架在整体结构中的耗能性能对比,提出了牺牲-耗能型伸臂桁架,对其进行了试验研究和有限元分析,然后分别将CO和BO模型中的伸臂桁架替换成牺牲-耗能型伸臂桁架得到对应的两个结构SCO和SBO,分析其抗震性能。本文研究成果可以为相关工程提供参考。
为了简化研究过程,突出主要问题,本文首先根据我国的《高层建筑混凝土结构技术规程》[16]、《建筑抗震设计规范》[17]等规范设计了一个简化的超高层框架-核心筒-伸臂桁架结构模型。
该原型结构采用型钢混凝土框架-核心筒-伸臂桁架结构体系,外框架柱为型钢混凝土柱,内筒为钢筋混凝土核心筒,在核心筒与外框架间布置两道伸臂桁架。结构的抗震设防烈度为8度,设计基本地震加速度为0.30g,对应的罕遇地震加速度峰值为510 cm/s2,设计地震分组为第一组,场地类别为II类。原型结构的立面如图1所示,结构高度为206.3 m,地上55层,地下2层,其中29层和55层为避难层和设备层,在29层和55层设置了楼层通高桁架形式的伸臂桁架加强层。建筑平面为正方形,平面布置关于x轴和y轴双轴对称。结构标准层平面尺寸为42 m×42 m,整体结构的高宽比H/B=4.9;核心筒平面尺寸为21 m×21 m,核心筒高宽比H/B=9.8。结构标准层平面布置如图2所示。加强层伸臂桁架布置如图3所示。

图1 超高层原型结构立面图
Fig.1 Elevation of the prototype super tall building

图2 标准层平面布置图 /mm
Fig.2 Plan view of the standard floor
本文基于Perform-3D对该超高层框架-核心筒-伸臂桁架结构进行抗震性能分析。Perform-3D是专门用于三维整体结构弹塑性分析与抗震性能评估的软件,它能够对整体结构和各类构件的耗能能力进行具体分析,在工程抗震弹塑性分析中得到广泛应用。例如,陆文忠和吕西林[18]采用Perform-3D对武汉人信汇高位裙房双塔超限高层整体模型进行了罕遇地震作用下的弹塑性时程分析;Poon等[19]采用Perform-3D建立上海中心大厦结构的有限元模型,对其抗震性能目标进行了评估。

图3 加强层伸臂桁架布置图
Fig.3 Arrangement of the outriggers
首先,本文在PKPM中对超高层原型结构进行设计,再将设计完成后的模型转换到Perform-3D软件中。对得到的Perform-3D模型和PKPM模型进行动力特性对比(表1),其动力特性吻合较好,因此后续研究基于该Perform-3D模型进行结构的抗震性能分析。
表1 超高层原型结构基本动力特性对比
Table 1 Comparison of the dynamic properties of the prototype super tall building

振型 振型特征 周期/s 误差/(%)PKPM模型 Perform-3D模型1x向一阶平动 3.58 3.50 2.23 2y向一阶平动 3.52 3.48 1.14 3 一阶扭转 1.73 1.72 0.58 4x向二阶平动 0.93 0.91 2.15 5y向二阶平动 0.92 0.91 1.09 6 二阶扭转 0.63 0.62 1.59 7x向三阶平动 0.42 0.42 0.00 8y向三阶平动 0.42 0.41 2.38 9 三阶扭转 0.37 0.37 0.00总质量/t 200097 201370 -0.64
根据《建筑抗震设计规范》[17],在PEER-NGA地震数据库[20]一共选取7条天然地震波,地震波的基本说明见表2。所选地震波的平均反应谱与设计反应谱曲线对比如图4所示。由图4可知,选取的地震波反应谱与设计反应谱曲线在统计意义上相符。在后续研究中,均基于上述7条地震波按照罕遇地震水准开展结构的弹塑性时程分析。分析时,仅考虑每组地震波的单向分量,沿超高层原型结构模型的水平向y向输入。根据《建筑抗震设计规范》[17]建议,模型的阻尼比取为5%。
表2 7条地震波基本信息
Table 2 Details of the 7 ground motion records

PEER-NGA 地震数据库信息 峰值数值NO.地震动编号地震名称地震台名称PGAmax/g PGVmax/(cm/s)1 RSN-28 Parkfield Cholame-Shandon Array #12 0.56 62.38 2 RSN-54 San Fernando Borrego Springs Fire Sta 0.46 88.99 3 RSN-67 San Fernando Isabella Dam(Aux Abut) 0.40 66.60 4 RSN-68 San Fernando LA - Hollywood Stor FF 0.50 48.48 5 RSN-76 San Fernando Maricopa Array #3 0.37 112.34 6 RSN-88 San Fernando Santa Felita Dam(Outlet) 0.77 41.21 7 RSN-93 San Fernando Whittier Narrows Dam 0.61 61.40

图4 7条地震波平均反应谱和设计罕遇地震反应谱对比
Fig.4 Comparison between the average response spectrum of the 7 ground motion records and design response spectrum at the MCE level
以上述超高层原型结构为研究对象,根据《钢结构设计规范》[21],按照“中震不屈服,大震下耗能”的抗震性能目标,对结构中的伸臂桁架分别采用普通伸臂桁架和BRB伸臂桁架进行独立设计。对于普通伸臂桁架,采用工字型钢,钢材为Q345,同时考虑其初始缺陷、强度需求和稳定性要求,进行截面设计;对于BRB伸臂桁架结构,考虑BRB的强度需求,不考虑稳定需求,对BRB进行截面设计。设计后CO和BO模型中的伸臂桁架截面信息见表3。
基于Perform-3D软件得到普通伸臂桁架结构,简称CO (conventional outrigger),BRB伸臂桁架结构简称BO (BRB outrigger)。CO模型中的普通伸臂桁架本构模型按非线性屈曲钢材材料定义(如图5所示),其中的Dr和Dl参考FEMA-356[22]进行定义,Dl=0.002,Dr=0.004;BO模型中的BRB本构模型按BRB材料定义(如图6所示)。
表3 伸臂桁架截面信息 /mm
Table 3 Sectional dimension of the outrigger

?

图5 Perform-3D中非弹性屈曲钢材本构模型
Fig.5 Constitutive model of the inelastic steel material in Perform-3D

图6 Perform-3D中BRB本构模型
Fig.6 Constitutive model of the BRB in Perform-3D
对根据上述方法设计得到的CO和BO模型进行弹塑性时程分析,统计了结构的地震输入总能量、塑性耗能总量、塑性耗能占总能量比例和各类构件塑性耗能占总塑性耗能比例,结果对比见表4。
由表4可以看出,对应每条地震波的罕遇地震工况,CO和BO模型的地震输入总能量和塑性耗能总量基本一致,而普通伸臂桁架的塑性耗能情况优于BRB伸臂桁架。这是由于在地震作用下BRB伸臂桁架总是保持较高强度,导致结构中的其他构件首先承担起了耗散塑性能量的角色;而普通伸臂桁架由于进入软化段,强度下降,反而保护了结构中的其他构件,起到了更好的耗能效果。
表4 罕遇地震下CO及BO模型塑性耗能情况
Table 4 Energy dissipation of model CO and BO under MCEs

地震波 模型 总能量/(kN·m)塑性耗能总量/(kN·m)塑性耗能占总能量比例/(%)塑性耗能组成/(%)连梁 梁 柱 剪力墙 伸臂桁架RSN-28 CO 333117 75865 22.77 4.27 17.60 0.00 71.41 6.72 BO 329774 74112 22.47 4.41 19.97 0.00 71.23 4.40 RSN-54 CO 686366 241330 35.16 14.41 28.21 0.46 47.56 9.36 BO 685835 238120 34.72 14.93 28.28 0.53 48.44 7.81 RSN-67 CO 396048 129740 32.76 10.03 24.87 0.01 55.47 9.63 BO 391854 125150 31.94 11.03 25.10 0.01 57.37 6.48 RSN-68 CO 282948 84582 29.89 3.15 25.16 0.00 55.88 15.81 BO 283256 80130 28.29 3.35 26.93 0.00 60.27 9.46 RSN-76 CO 341201 91793 26.90 7.30 21.28 0.00 62.12 9.30 BO 333893 85911 25.73 7.28 23.22 0.00 64.72 4.78 RSN-88 CO 360333 92339 25.63 4.68 19.41 0.00 67.73 8.18 BO 353315 88347 25.01 4.41 21.63 0.00 68.34 5.63 RSN-93 CO 298983 88241 29.51 5.53 24.28 0.00 57.32 12.87 BO 299149 84999 28.41 6.27 26.40 0.00 59.74 7.58
以RSN-67地震动输入为例,对比CO中的普通伸臂桁架与BO中的BRB伸臂桁架塑性耗能占总塑性耗能百分比变化过程如图7所示。当加载至地震时程30.30 s时,整体结构的总塑性耗能比进入明显增长阶段,普通伸臂桁架的应变达到图5的Dl(0.002),强度开始下降,耗能能力提升,普通伸臂桁架耗能占总塑性耗能比大于BRB伸臂桁架。

图7 普通伸臂桁架与BRB伸臂桁架在RSN-67地震输入下耗能变化过程
Fig.7 Energy dissipating process of the conventional and BRB outriggers under the ground motion RSN-67
根据1.3节研究发现,由于BRB伸臂桁架始终保持较高的强度,BO模型中的BRB伸臂桁架并没有充分发挥耗能能力,CO模型中的普通伸臂桁架因为强度下降耗能效果反而更好。但是赵宪忠等[5]、杨青顺等[23]学者的试验研究发现,普通伸臂桁架会因受压发生塑性屈曲破坏,后期承载能力降幅较大,可视为退出工作,存在延性较差的缺点;同时,1.3节的CO模型抗震性能有限元分析也发现,部分普通伸臂桁架在罕遇地震下应变达到图5的Dr(0.004),强度降幅很大,基本退出工作,无法充分利用其耗能能力。综上所述,理想的伸臂桁架应该具备大震下强度进入软化阶段,但是后期仍具备一定的强度且延性较好的特点,才能充分发挥其耗能能力。根据上述要求,本文提出一种新型伸臂桁架—牺牲-耗能型伸臂桁架。
牺牲-耗能型伸臂桁架由牺牲段和耗能段组成,牺牲段和耗能段并列布置。牺牲-耗能型伸臂桁架示意图如图8所示。在小震和中震作用下,牺牲段和耗能段共同受力;在大震作用下,牺牲段退出受力,耗能段继续受力,即达到“中震不屈服,大震下耗能”的设计目标。为了保证牺牲段牺牲强度的可控,避免牺牲段的受压失稳,牺牲段的截面设计参数应满足不会发生受压失稳的条件,牺牲段与固定端之间采用螺栓连接的方式,牺牲段的牺牲主要通过连接螺栓的破坏实现。当螺栓受力达到受剪承载力峰值,螺栓发生受剪破坏,即到达图9中的牺牲段牺牲点,牺牲段开始退出受力,实现“牺牲”。随后,伸臂桁架的强度会降低至图9的耗能段强度,与普通伸臂桁架的残余强度相比会有强度提升,从而实现伸臂桁架的集中受力和稳定耗能,减少与伸臂桁架相连剪力墙的受力,减少剪力墙在地震作用下的塑性破坏,起到保护震后不易修复的关键构件-剪力墙的作用,有效降低地震带来的经济损失。

图8 牺牲-耗能型伸臂桁架示意图
Fig.8 Sketch of the SED outrigger

图9 牺牲-耗 型伸臂桁架本构 型
Fig.9 Constitutive model of the SED outrigger
在大震作用下,牺牲-耗能型伸臂桁架的牺牲段会由于“牺牲”而退出受力,耗能段则继续受力。因此,参与后续受力的耗能段的强度会决定整个伸臂桁架在地震作用下的耗能效果。为了达到最优耗能效果,需要确定牺牲段和耗能段的强度比,称之为牺牲段和耗能段强度最优比。根据图9曲线中的各个参数关系,牺牲段和耗能段强度总和可被定义为Fu,耗能段强度可被定义为Fr,则牺牲段强度为
牺牲段和耗能段的强度比例为![]()
本文共考虑了Fs/Fr为9∶1、8∶2、7∶3、6∶4、5∶5、4∶6、3∶7、2∶8、1∶9共9种情况,对应9个牺牲-耗能型伸臂桁架结构,每个结构计算7条地震波,按罕遇地震水准进行耗能分析。统计每条地震波下不同Fs/Fr结构的地震输入总能量和塑性耗能总量,按照式(1)和式(2)计算不同地震工况下总能量和塑性耗能总量的变化幅值:

式中:
为每条地震波下不同Fs/Fr的结构能量值的平均值;Δ为每条地震波下不同强度比结构能量值的变化幅值。在此基础上,定义
为不同地震动下变化幅值Δ的平均值;
为变化幅值的最大值。
计算结果表明,采用不同
时,地震输入总能量的Δ=1.52%,
=5.00%;塑性耗能总量的
=2.42%,
=8.65%。由此可见,采用不同
的牺牲-耗能型伸臂桁架结构在相同地震波下计算得到的地震输入总能量和塑性耗能总量的变化幅值不大,可以认为每条地震波下不同
的牺牲-耗能型伸臂桁架结构的地震输入总能量和塑性耗能总量基本一致。
进一步,统计不同
的牺牲-耗能型伸臂桁架在每条地震波作用下塑性耗能占地震输入总能量的百分比和占总塑性耗能的百分比如图10和图11所示。结果表明,牺牲段和耗能段的强度比大约取为6∶4时,牺牲-耗能型伸臂桁架的耗能性能最好。即在绝大部分地震波作用下,此时牺牲-耗能型伸臂桁架的塑性耗能占总能量及塑性耗能总量的比值达到最大。因此,本文将6∶4确定为牺牲段和耗能段强度最优比,对牺牲-耗能型伸臂桁架进行设计并开展试验研究。

图10 不同
的伸臂桁架耗能占总能量比
Fig.10 Ratio between the energy dissipation of outriggers and the total input energy under different

图11 不同
的伸臂桁架耗能占总塑性耗能比
Fig.11 Ratio between the energy dissipation of outriggers and the total dissipated inelastic energy under different
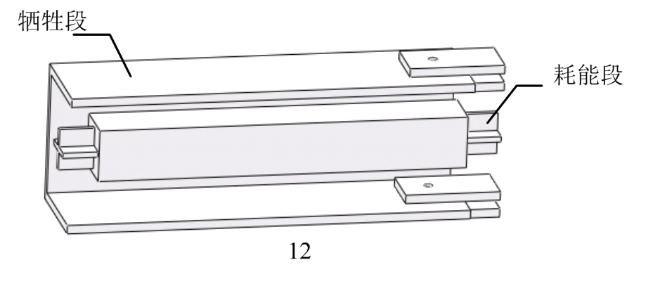
本文研究的牺牲-耗能型伸臂桁架采用牺牲段外包于耗能段的形式,考虑到试件加工及试验观察需求,牺牲段采用三面围包的方式,如图12所示,试件前视图如图13(a)所示,1-1剖面图如图13(b)所示。由于牺牲段仅参与受力不参与耗能,为了避免牺牲段的受压失稳,因此试验试件外包的牺牲段选用简易经济的方钢管,钢材强度为Q345,厚度为25 mm,保证牺牲段的拉压性能一致。耗能段采用耗能优良的BRB,芯板为LY225钢材。设计采用2个螺栓,螺栓抗剪承载力首先通过试验加以标定,最后确定牺牲段承载力为606 kN,设计时方钢管的抗拉承载力远大于螺栓受剪承载力。根据牺牲段强度和确定的牺牲段和耗能段的强度最优比(6∶4),设计耗能段的峰值承载力为400 kN。试件安装图和试验加载装置如图14所示。

图12 牺牲-耗能型伸臂桁架三维示意图
Fig.12 3D scheme of the SED outrigger

图13 牺牲-耗能型伸臂桁架试件尺寸 /mm
Fig.13 Dimension of the SED outrigger specimen

图14 牺牲-耗能伸臂桁架试件加载装置
Fig 14 Test setup for the SED outrigger specimen
试验采用位移控制的拟静力加载方式,以耗能段的轴向位移为控制位移,加载制度以耗能段的计算屈服位移为参考,加载位移制度为15级加载,每级加载2次,如图15所示。试验加载至3 mm第一圈时,上部螺栓(螺栓连接板1)发生剪切破坏并掉落,如图16(a)所示;加载至3 mm第二圈时,下部螺栓(螺栓连接板2)发生剪切破坏并掉落,如图16(b)所示。至此,牺牲段退出受力。加载至22 mm时,耗能段核心区发生明显变形,停止加载。

图15 牺牲-耗能型伸臂桁架加载制度
Fig.15 Loading criteria for the SED outrigger test

图16 螺栓连接板破坏图
Fig.16 Failure of the bolt connections
试验得到的牺牲-耗能型伸臂桁架的力-位移滞回曲线如图17所示。滞回曲线以压为正,拉为负。可以看出,试件受压时,峰值承载力为789 kN,此时试件位移为2.45 mm;受拉时,峰值承载力为865 kN,此时试件位移为2.45 mm。达到峰值承载力之后,滞回曲线进入下降段,即螺栓发生剪切破坏,牺牲段退出受力。随后,试件受压承载力降至402 kN,受拉承载力降至384 kN,因此耗能段平均强度为393 kN,牺牲段的平均强度为434 kN,牺牲段和耗能段的强度比为5.3∶4.7,平均峰值承载力为827 kN,基本达到设计目标,即牺牲段和耗能段最优强度比6∶4和峰值承载力1000 kN的要求。该滞回曲线下降段明显,后期形状饱满,采用BRB的耗能段延性性能良好,具有较大的变形能力,牺牲-耗能型伸臂桁架耗能效果良好。

图17 牺牲-耗能型伸臂桁架的力-位移曲线
Fig.17 Force-displacement curves of the SED outrigger
在Perform-3D中对牺牲-耗能型伸臂桁架试验进行模拟。牺牲-耗能型伸臂桁架本构模型根据图17中的试验骨架线,采用图9所示的非线性屈曲钢材本构模型进行模拟。模型尺寸和加载制度与试验一致。模拟得到的滞回曲线与试验滞回曲线对比如图18所示。结果表明,模拟得到的滞回曲线与试验得到的滞回曲线基本一致。因此,本文采用非线性屈曲钢材本构模型在Perform-3D中进行采用上述牺牲-耗能型伸臂桁架结构的抗震性能分析。

图18 牺牲-耗能型伸臂桁架试验及有限元结果对比
Fig.18 Comparison between of the numerical and experimental results of the SED outrigger
根据图17得到的骨架线和图9的曲线定义参数,可以得到试验中牺牲-耗能型伸臂桁架受压和受拉时Fr和Fu、Dr和Dl的相对关系,如表5所示。
表5 本构模型各参数取值
Table 5 Parameters of the constitutive model

相对关系 受压 受拉Fr / Fu 0.51 0.44 Dr /Dl 3.04 3.05
根据表5的本构模型各参数相对关系,按照等刚等强原则对CO及BO模型中的伸臂桁架进行替换,得到与CO模型对应的牺牲-耗能型伸臂桁架结构(简称SCO),及与BO模型对应的牺牲-耗能型伸臂桁架结构(简称SBO)。考虑罕遇地震工况,在Perform-3D中进行SCO和SBO模型的抗震性能分析。
统计每条地震波下SCO和SBO模型的地震输入总能量和塑性耗能总量,结果表明,上述地震作用下,SCO和CO模型、SBO和BO模型的地震输入总能量和塑性耗能总量基本一致。在此基础上,对比SCO和CO模型、SBO和BO模型中的各构件塑性耗能占总塑性耗能比如图19和图20所示。

图19 SCO和CO模型各构件塑性耗能占总塑性耗能百分比
Fig.19 Inelastic energy dissipation ratio of different components in models SCO and CO

图20 SBO和BO模型各构件塑性耗能占总塑性耗能百分比
Fig.20 Inelastic energy dissipation ratio of different components in models SBO and BO
结果表明,SCO和CO模型、SBO和BO 模型相比,牺牲-耗能型伸臂桁架的塑性耗能占总塑性耗能比均明显增加,剪力墙的塑性耗能占总塑性耗能比均明显减少,连梁和梁的塑性耗能占总塑性耗能比基本都呈减少趋势。因此,采用本文提出的牺牲-耗能型伸臂桁架可以有效减小超高层建筑的剪力墙、连梁、梁等构件在罕遇地震下的损伤。
以RSN-88地震动输入为例,对比CO和SCO模型、BO和SBO模型中的伸臂桁架滞回曲线如图21和图22所示。可以看出,由于牺牲-耗能型伸臂桁架强度达到峰值后,较快进入软化段,当其降低至一定强度后,能一直维持在一个水准上,伸臂桁架进入稳定耗能阶段,充分利用了牺牲-耗能型伸臂桁架中耗能段的耗能能力,构件延性良好,起到了保护结构中其他构件的作用。

图21 普通伸臂桁架和对应的牺牲-耗能伸臂桁架滞回曲线对比
Fig.21 Comparison between the hysteric curves of conventional and SED outriggers

图22 BRB伸臂桁架和对应的牺牲-耗能伸臂桁架滞回曲线对比
Fig.22 Comparison between the hysteric curves of BRB and SED outriggers
研究各类伸臂桁架在整体结构中的耗能能力,对于实现整体结构中其他构件更加合理的耗能分配,提高超高层建筑的抗震性能,具有非常重要的工程价值。本文以一超高层框架-核心筒-伸臂桁架结构为研究对象,分别对结构中的普通伸臂桁架和BRB伸臂桁架按照“中震不屈服,大震下耗能”的原则进行独立设计,进行了整体结构性能分析对比之后,针对普通伸臂桁架及BRB伸臂桁架耗能能力的不足,提出并设计了一种新型牺牲-耗能型伸臂桁架,并开展了相应的试验研究和有限元分析,文章的主要结论如下:
(1) 在罕遇地震工况下,由于BRB伸臂桁架总是保持较高强度,导致结构中的其他构件首先承担起了耗散塑性能量的角色;而普通伸臂桁架由于强度进入软化段,强度下降,实现了伸臂桁架的集中受力,反而塑性耗能效果比BRB伸臂桁架更好。
(2) 对于本文所研究的超高层原型结构模型,采用的牺牲-耗能型伸臂桁架的牺牲段和耗能段强度最优比为6∶4左右。
(3) 根据等刚等强的原则将CO和BO模型中的伸臂桁架替换成对应的牺牲-耗能型伸臂桁架后得到SCO和SBO模型,分析SCO及SBO模型的抗震性能发现:在罕遇地震作用下,牺牲-耗能型伸臂桁架在整体结构中比普通伸臂桁架和BRB伸臂桁架的耗能效果都更好,能有效减小结构中其他构件如剪力墙、梁和连梁等塑性耗能占总塑性耗能的百分比,从而起到了保护结构中主要构件的作用。
(4) 有关研究表明,伸臂桁架的施工顺序和地基沉降可能会对整体结构的重力荷载分布产生影响[24―25]。因此,在后续研究中,可以进一步考虑上述因素对整体结构性能的影响。
[1] 丁洁民,吴宏磊,赵昕.我国高度250 m以上超高层建筑结构现状与分析进展[J].建筑结构学报,2014,35(3): 1―7.Ding Jiemin,Wu Honglei,Zhao Xin.Current situation and discussion of structural design for super high-rise buildings above 250 m in China [J].Journal of Building Structures,2014,35(3): 1―7.(in Chinese)
[2] 程骥.框架-核心筒-伸臂桁架结构体系受力性能研究[D].武汉: 武汉理工大学,2012.Cheng Ji.Research on the mechanical properties of frame-core-outrigger structural system [D].Wuhan:Wuhan University of Technology,2012.(in Chinese)
[3] 吕西林,程明.超高层建筑结构体系的新发展[J].结构工程师,2008,24(2): 99―106.Lü Xilin,Cheng Ming.Recent development of structural systems for super tall buildings [J].Structural Engineers,2008,24(2): 99―106.(in Chinese)
[4] 邢丽丽,周颖.普通伸臂桁架与屈曲约束支撑型伸臂桁架最优布置方案分析[J].建筑结构学报,2015,36(12): 1―10.Xing Lili,Zhou Ying.Optimization analysis of ordinary outrigger trusses and outrigger trusses with buckling restrained braces [J].Journal of Building Structures,2015,36(12): 1―10.(in Chinese)
[5] 赵宪忠,王斌,陈以一,等.上海中心大厦伸臂桁架与巨柱和核心筒连接的静力性能试验研究[J].建筑结构学报,2013,34(2): 20―28.Zhao Xianzhong,Wang Bin,Chen Yiyi,et al.Monotonic static tests on outrigger truss and its connection with mega column and core tube of the Shanghai Tower [J].Journal of Building Structures,2013,34(2): 20―28.(in Chinese)
[6] 陈以一,王斌,赵宪忠,等.上海中心大厦伸臂桁架与巨柱和核心筒连接的抗震性能试验研究[J].建筑结构学报,2013,34(2): 29―36.Chen Yiyi,Wang Bin,Zhao Xianzhong,et al.Hysteretic tests on outrigger truss and its connection with mega column and core tube of the Shanghai Tower [J].Journal of Building Structures,2013,34(2): 29―36.(in Chinese)
[7] 聂建国,丁然,樊健生,等.武汉中心伸臂桁架-核心筒剪力墙节点抗震性能试验研究[J].建筑结构学报,2013,34(9): 1―12.Nie Jianguo,Ding Ran,Fan Jiansheng,et al.Experimental research on seismic behavior of outrigger truss-wall joint in super high-rise building of Wuhan Center [J].Journal of Building Structures,2013,34(9):1―12.(in Chinese)
[8] 严鹏,王伟,陈以一.钢管混凝土柱与伸臂桁架连接节点试验研究[J].工程力学,2013,30(增刊): 78―82.Yan Peng,Wang Wei,Chen Yiyi.Experimental study on concrete filled steel tube column to outrigger truss connection [J].Engineering Mechanics,2013,30(Suppl):78―82.(in Chinese)
[9] 杨青顺.耗能伸臂桁架试验及设计方法研究[D].北京: 清华大学,2017.Yang Qingshun.Experimental and design method study of energy dissipating outriggers [D].Beijing: Tsinghua University,2017.(in Chinese)
[10] 卢啸.超高巨柱-核心筒-伸臂结构地震灾变及抗震性能研究[D].北京: 清华大学,2013.Lu Xiao.Study on the collapse simulation and seismic performance of super tall mega column-core tube-outrigger buildings [D]. Beijing: Tsinghua University,2013.(in Chinese)
[11] 陆新征,卢啸,李梦珂,等.上海中心大厦结构抗震分析简化模型及地震耗能分析[J].建筑结构学报,2013,34(7): 1―10.Lu Xinzheng,Lu Xiao,Li Mengke,et al.Study on simplified modeling and energy dissipation distribution of the Shanghai Tower [J].Journal of Building Structures,2013,34(7): 1―10.(in Chinese)
[12] Fan H,Li Q S,Tuan A Y,et al.Seismic analysis of the world’s tallest building [J].Journal of Constructional Steel Research,2009,65(5): 1206―1215.
[13] Li Q S,Wu J R.Correlation of dynamic characteristics of a super-tall building from full scale measurements and numerical analysis with various finite element models[J].Earthquake Engineering and Structural Dynamics,2004,33(14): 1311―1336.
[14] Jiang H J,Lu X L,Liu X J,et al.Performance-based seismic design principles and structural analysis of Shanghai Tower [J].Advances in Structural Engineering,2014,17(4): 513―528.
[15] Moehle J.Seismic design of reinforced concrete buildings [M].New York: McGraw-Hill Education,2015: 755―758.
[16] JGJ 3—2010,高层建筑混凝土结构技术规程[S].北京: 中国建筑工业出版社,2010.JGJ 3—2010,Technical specification for concrete structures of tall building [S].Beijing: China Architecture & Building Press,2010.(in Chinese)
[17] GB 50011—2010,建筑抗震设计规范[S].北京: 中国建筑工业出版社,2010.GB 50011—2010,Code for seismic design of buildings[S].Beijing: China Architecture & Building Press,2010.(in Chinese)
[18] 陆文忠,吕西林.武汉人信汇高位裙房双塔超限高层抗震分析和性能化设计[J].建筑结构,2016,46(6):12―19.Lu Wenzhong,Lü Xilin.Seismic analysis and performance-based design of a tall twin-tower beyond code limits with high-rise podium for Wuhan Ren Xin Hui [J].Building Structure,2016,46(6): 12―19.(in Chinese)
[19] Poon D,Hsiao L,Zhu Y,et al.Non-linear time history analysis for the performance based design of Shanghai Tower [C]// Structures Congress: Las Vegas.Reston.Virginia: ASCE,2011: 541―551.
[20] PEER Center.PEER ground motion database [DB/OL].http: //ngawest2.berkeley.edu/,2018-06-20.
[21] GB 50017—2003,钢结构设计规范[S].北京: 中国计划出版社,2003.GB 50017—2003,Code for design of steel structures [S].Beijing: China Planning Press,2003.(in Chinese)
[22] FEMA 356.Prestandard and commentary for the seismic rehabilitation of buildings [R].Washington D C: Federal Emergency Management Agency,2000.
[23] 杨青顺,甄伟,解琳琳,等.耗能伸臂桁架抗震性能试验研究[J].工程力学,2016,33(10): 76―85.Yang Qingshun,Zhen Wei,Xie Linlin,et al.Experimental study on the seismic performance of energy dissipation outriggers [J]. Engineering Mechanics,2016,33(10): 76―85.(in Chinese)
[24] 赖寒,何志军,丁洁民.上海中心大厦考虑施工过程的竖向变形及差异分析与研究[J].结构工程师,2011,27(6): 14―21.Lai Han,He Zhijun,Ding Jiemin.Analysis and research of vertical deformation difference of Shanghai Tower considering construction process [J]. Structural Engineers,2011,27(6): 14―21.(in Chinese)
[25] 董志君,滕军,郭伟亮.深圳京基金融中心的施工过程力学性能分析[J].建筑结构学报,2010 (增刊1):409―412.Dong Zhijun,Teng Jun,Guo Weiliang.Staged construction analysis and application of mechanical performance on Jingji Commercial Centre [J].Journal of Building Structures,2010 (Suppl1): 409―412.(in Chinese)
DESIGN AND EXPERIMENTAL STUDY OF A SACRIFICIAL-ENERGY DISSIPATION OUTRIGGER
朱亚宁(1993―),女,浙江人,硕士生,主要从事高层结构抗震研究(E-mail: gdl16@mails.tsinghua.edu.cn);
林楷奇(1990―),男,福建人,博士生,主要从事混凝土结构多灾害研究(E-mail: linjq13@mails.tsinghua.edu.cn);
蒋 庆(1984―),男,安徽人,副教授,博士,主要从事结构工程研究(E-mail: ahhfjq@163.com);
林元庆(1974―),男,福建人,教授级高工,本科,结构总工程师/副院长,主要从事结构分析、设计及施工一体化技术研究及应用研究(E-mail: 13526593105@126.com);
杨青顺(1982―),女,青海人,讲师,博士,主要从事高层结构抗震研究(E-mail: yqss112@163.com).